暫無描述

puhui999 a31c995508 Merge remote-tracking branch 'yudao/dev' into dev-crm 2 年之前
.image 249fe126ee ✨ 完善 MALL、CRM、ERP 文档说明 2 年之前
.vscode dee8215da2 优化:添加商品时0库存商品无法保存改为可以保存 2 年之前
build 55b477acdb unplugin-auto-import:排除自动导入店铺装修组件 2 年之前
public 3f36b57363 docs: preview 2 年之前
src a31c995508 Merge remote-tracking branch 'yudao/dev' into dev-crm 2 年之前
types 89dbb8c9e8 perf: 优化.env配置 2 年之前
.editorconfig 56f3017baa 初始化项目,自 v1.7.1 版本开始 3 年之前
.env 8d532dfc3a ✨ 默认开启文档地址 2 年之前
.env.dev 490bb901e1 基础设施:增加前端直连上传文件到S3服务的功能 2 年之前
.env.local d3fab9a0fd 📖 CRM:code review 前端直接上传 2 年之前
.env.prod 490bb901e1 基础设施:增加前端直连上传文件到S3服务的功能 2 年之前
.env.stage 490bb901e1 基础设施:增加前端直连上传文件到S3服务的功能 2 年之前
.env.test 490bb901e1 基础设施:增加前端直连上传文件到S3服务的功能 2 年之前
.eslintignore 56f3017baa 初始化项目,自 v1.7.1 版本开始 3 年之前
.eslintrc-auto-import.json 56f3017baa 初始化项目,自 v1.7.1 版本开始 3 年之前
.eslintrc.js f0f7886025 代码生成:增加主子表(普通)的示例 2 年之前
.gitignore 5910d53d8f 修复差异 2 年之前
.prettierignore 2b605bd212 chore: prettier 3 年之前
.stylelintignore 56f3017baa 初始化项目,自 v1.7.1 版本开始 3 年之前
LICENSE 56f3017baa 初始化项目,自 v1.7.1 版本开始 3 年之前
README.md 249fe126ee ✨ 完善 MALL、CRM、ERP 文档说明 2 年之前
index.html e6ccfbddb6 chore: update vite 4.2 3 年之前
package.json a0ce1f3a5b 🔥 2.0.0 版本发布! 2 年之前
postcss.config.js 56f3017baa 初始化项目,自 v1.7.1 版本开始 3 年之前
prettier.config.js 56f3017baa 初始化项目,自 v1.7.1 版本开始 3 年之前
stylelint.config.js bf2c59c6e0 chore: stylelint config 2 年之前
tsconfig.json 4ba264e00d perf: use driver.js 2 年之前
uno.config.ts de62a7a5b7 bugfix:注释掉 uno 的 transformerVariantGroup,解决 vite 监控到 css 变化,导致 Login.vue 登录时的重加载问题 2 年之前
vite.config.ts e6ccfbddb6 chore: update vite 4.2 3 年之前

README.md

严肃声明:现在、未来都不会有商业版本,所有代码全部开源!!

「我喜欢写代码,乐此不疲」
「我喜欢做开源,以此为乐」

我 🐶 在上海艰苦奋斗,早中晚在 top3 大厂认真搬砖,夜里为开源做贡献。

如果这个项目让你有所收获,记得 Star 关注哦,这对我是非常不错的鼓励与支持。

🐶 新手必读

🐯 平台简介

芋道,以开发者为中心,打造中国第一流的快速开发平台,全部开源,个人与企业可 100% 免费使用。

  • 采用 vue-element-plus-admin 实现
  • 改换 saas,自动引入等功能
  • 使用 Element Plus 免费开源的中后台模版,具备如下特性:

首页

  • 最新技术栈:使用 Vue3、Vite4 等前端前沿技术开发
  • TypeScript: 应用程序级 JavaScript 的语言
  • 主题: 可配置的主题
  • 国际化:内置完善的国际化方案
  • 权限:内置完善的动态路由权限生成方案
  • 组件:二次封装了多个常用的组件
  • 示例:内置丰富的示例

技术栈

框架 说明 版本
Vue Vue 框架 3.3.8
Vite 开发与构建工具 4.5.0
Element Plus Element Plus 2.4.2
TypeScript JavaScript 的超集 5.2.2
pinia Vue 存储库 替代 vuex5 2.1.7
vueuse 常用工具集 10.6.1
vue-i18n 国际化 9.6.5
vue-router Vue 路由 4.2.5
unocss 原子 css 0.57.4
iconify 在线图标库 3.1.1
wangeditor 富文本编辑器 5.1.23

开发工具

推荐 VS Code 开发,配合插件如下:

插件名 功能
TypeScript Vue Plugin (Volar) 用于 TypeScript 的 Vue 插件
Vue Language Features (Volar) Vue3.0 语法支持
unocss unocss for vscode
Iconify IntelliSense Iconify 预览和搜索
i18n Ally 国际化智能提示
Stylelint Css 格式化
Prettier 代码格式化
ESLint 脚本代码检查
DotENV env 文件高亮

🔥 后端架构

支持 Spring Boot、Spring Cloud 两种架构:

① Spring Boot 单体架构:https://github.com/YunaiV/ruoyi-vue-pro

架构图

② Spring Cloud 微服务架构:https://github.com/YunaiV/yudao-cloud

架构图

内置功能

系统内置多种多种业务功能,可以用于快速你的业务系统:

  • 系统功能
  • 基础设施
  • 工作流程
  • 支付系统
  • 会员中心
  • 数据报表
  • 商城系统
  • 微信公众号
  • ERP 系统
  • CRM 系统

系统功能

功能 描述
用户管理 用户是系统操作者,该功能主要完成系统用户配置
⭐️ 在线用户 当前系统中活跃用户状态监控,支持手动踢下线
角色管理 角色菜单权限分配、设置角色按机构进行数据范围权限划分
菜单管理 配置系统菜单、操作权限、按钮权限标识等,本地缓存提供性能
部门管理 配置系统组织机构(公司、部门、小组),树结构展现支持数据权限
岗位管理 配置系统用户所属担任职务
🚀 租户管理 配置系统租户,支持 SaaS 场景下的多租户功能
🚀 租户套餐 配置租户套餐,自定每个租户的菜单、操作、按钮的权限
字典管理 对系统中经常使用的一些较为固定的数据进行维护
🚀 短信管理 短信渠道、短息模板、短信日志,对接阿里云、腾讯云等主流短信平台
🚀 邮件管理 邮箱账号、邮件模版、邮件发送日志,支持所有邮件平台
🚀 站内信 系统内的消息通知,提供站内信模版、站内信消息
🚀 操作日志 系统正常操作日志记录和查询,集成 Swagger 生成日志内容
⭐️ 登录日志 系统登录日志记录查询,包含登录异常
🚀 错误码管理 系统所有错误码的管理,可在线修改错误提示,无需重启服务
通知公告 系统通知公告信息发布维护
🚀 敏感词 配置系统敏感词,支持标签分组
🚀 应用管理 管理 SSO 单点登录的应用,支持多种 OAuth2 授权方式
🚀 地区管理 展示省份、城市、区镇等城市信息,支持 IP 对应城市

工作流程

功能 描述
🚀 流程模型 配置工作流的流程模型,支持文件导入与在线设计流程图,提供 7 种任务分配规则
🚀 流程表单 拖动表单元素生成相应的工作流表单,覆盖 Element UI 所有的表单组件
🚀 用户分组 自定义用户分组,可用于工作流的审批分组
🚀 我的流程 查看我发起的工作流程,支持新建、取消流程等操作,高亮流程图、审批时间线
🚀 待办任务 查看自己【未】审批的工作任务,支持通过、不通过、转发、委派、退回等操作
🚀 已办任务 查看自己【已】审批的工作任务,未来会支持回退操作
🚀 OA 请假 作为业务自定义接入工作流的使用示例,只需创建请求对应的工作流程,即可进行审批

支付系统

功能 描述
🚀 商户信息 管理商户信息,支持 Saas 场景下的多商户功能
🚀 应用信息 配置商户的应用信息,对接支付宝、微信等多个支付渠道
🚀 支付订单 查看用户发起的支付宝、微信等的【支付】订单
🚀 退款订单 查看用户发起的支付宝、微信等的【退款】订单

ps:核心功能已经实现,正在对接微信小程序中...

基础设施

功能 描述
🚀 代码生成 前后端代码的生成(Java、Vue、SQL、单元测试),支持 CRUD 下载
🚀 系统接口 基于 Swagger 自动生成相关的 RESTful API 接口文档
🚀 数据库文档 基于 Screw 自动生成数据库文档,支持导出 Word、HTML、MD 格式
表单构建 拖动表单元素生成相应的 HTML 代码,支持导出 JSON、Vue 文件
🚀 配置管理 对系统动态配置常用参数,支持 SpringBoot 加载
⭐️ 定时任务 在线(添加、修改、删除)任务调度包含执行结果日志
🚀 文件服务 支持将文件存储到 S3(MinIO、阿里云、腾讯云、七牛云)、本地、FTP、数据库等
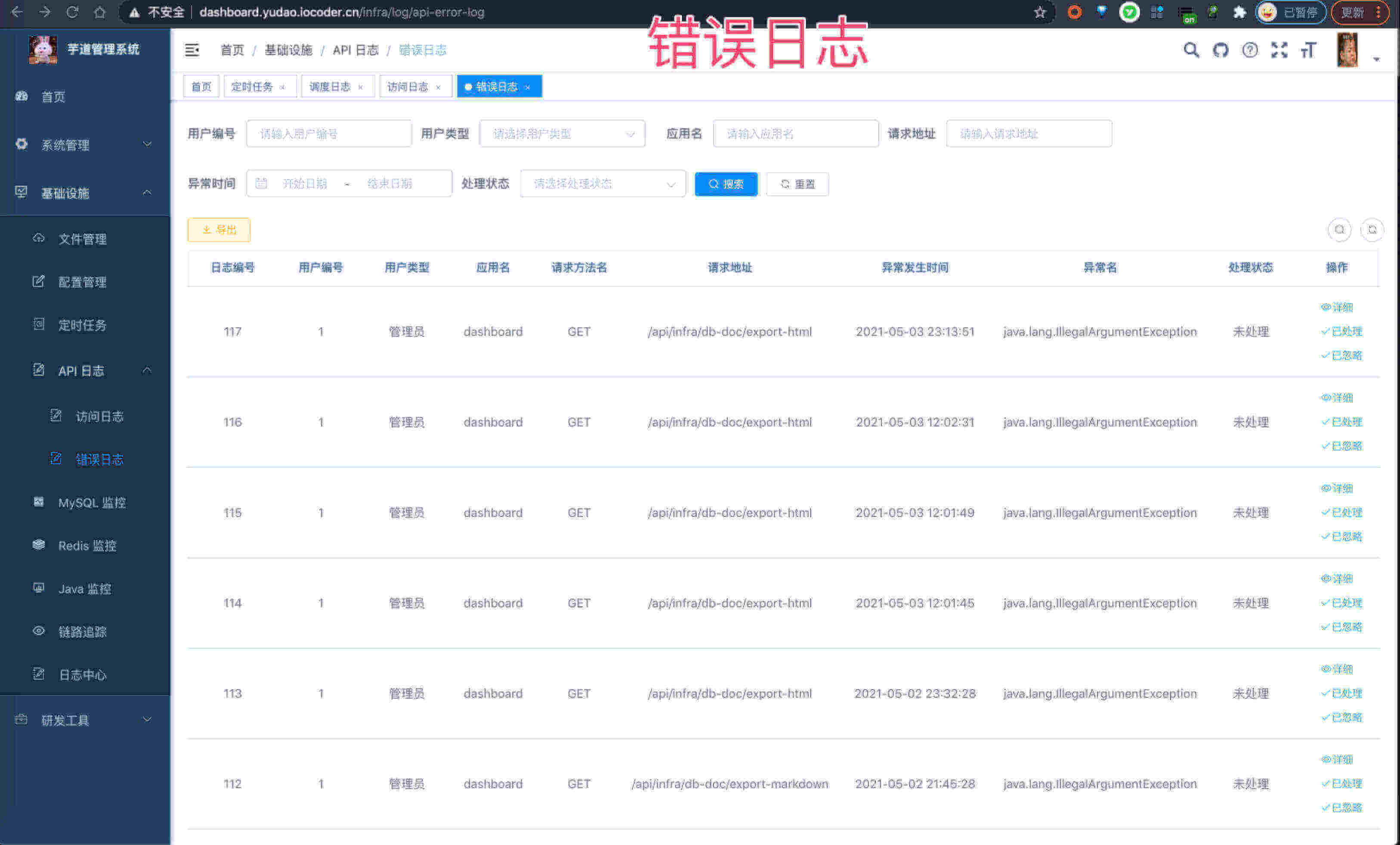
🚀 API 日志 包括 RESTful API 访问日志、异常日志两部分,方便排查 API 相关的问题
MySQL 监控 监视当前系统数据库连接池状态,可进行分析SQL找出系统性能瓶颈
Redis 监控 监控 Redis 数据库的使用情况,使用的 Redis Key 管理
🚀 消息队列 基于 Redis 实现消息队列,Stream 提供集群消费,Pub/Sub 提供广播消费
🚀 Java 监控 基于 Spring Boot Admin 实现 Java 应用的监控
🚀 链路追踪 接入 SkyWalking 组件,实现链路追踪
🚀 日志中心 接入 SkyWalking 组件,实现日志中心
🚀 分布式锁 基于 Redis 实现分布式锁,满足并发场景
🚀 幂等组件 基于 Redis 实现幂等组件,解决重复请求问题
🚀 服务保障 基于 Resilience4j 实现服务的稳定性,包括限流、熔断等功能
🚀 日志服务 轻量级日志中心,查看远程服务器的日志
🚀 单元测试 基于 JUnit + Mockito 实现单元测试,保证功能的正确性、代码的质量等

数据报表

功能 描述
🚀 报表设计器 支持数据报表、图形报表、打印设计等
🚀 大屏设计器 拖拽生成数据大屏,内置几十种图表组件

微信公众号

功能 描述
🚀 账号管理 配置接入的微信公众号,可支持多个公众号
🚀 数据统计 统计公众号的用户增减、累计用户、消息概况、接口分析等数据
🚀 粉丝管理 查看已关注、取关的粉丝列表,可对粉丝进行同步、打标签等操作
🚀 消息管理 查看粉丝发送的消息列表,可主动回复粉丝消息
🚀 自动回复 自动回复粉丝发送的消息,支持关注回复、消息回复、关键字回复
🚀 标签管理 对公众号的标签进行创建、查询、修改、删除等操作
🚀 菜单管理 自定义公众号的菜单,也可以从公众号同步菜单
🚀 素材管理 管理公众号的图片、语音、视频等素材,支持在线播放语音、视频
🚀 图文草稿箱 新增常用的图文素材到草稿箱,可发布到公众号
🚀 图文发表记录 查看已发布成功的图文素材,支持删除操作

商城系统

功能图

功能图

前端基于 crmeb uniapp 经过授权重构,优化代码实现,接入芋道快速开发平台

演示地址:https://doc.iocoder.cn/mall-preview/

ERP 系统

功能图

演示地址:https://doc.iocoder.cn/erp-preview/

CRM 系统

功能图

演示地址:https://doc.iocoder.cn/crm-preview/

🐷 演示图

系统功能

模块 biu biu biu
登录 & 首页 登录 首页 个人中心
用户 & 应用 用户管理 令牌管理 应用管理
租户 & 套餐 租户管理 租户套餐 -
部门 & 岗位 部门管理 岗位管理 -
菜单 & 角色 菜单管理 角色管理 -
审计日志 操作日志 登录日志 -
短信 短信渠道 短信模板 短信日志
字典 & 敏感词 字典类型 字典数据 敏感词
错误码 & 通知 错误码管理 通知公告 -

工作流程

模块 biu biu biu
流程模型 流程模型-列表 流程模型-设计 流程模型-定义
表单 & 分组 流程表单 用户分组 -
我的流程 我的流程-列表 我的流程-发起 我的流程-详情
待办 & 已办 任务列表-审批 任务列表-待办 任务列表-已办
OA 请假 OA请假-列表 OA请假-发起 OA请假-详情

基础设施

模块 biu biu biu
代码生成 代码生成 生成效果 -
文档 系统接口 数据库文档 -
文件 & 配置 文件配置 文件管理 配置管理
定时任务 定时任务 任务日志 -
API 日志 访问日志 错误日志 -
MySQL & Redis MySQL Redis -
监控平台 Java监控 链路追踪 日志中心

支付系统

模块 biu biu biu
商家 & 应用 商户信息 应用信息-列表 应用信息-编辑
支付 & 退款 支付订单 退款订单 ---

数据报表

模块 biu biu biu
报表设计器 数据报表 图形报表 报表设计器-打印设计
大屏设计器 大屏列表 大屏预览 大屏编辑